NIBT 4.4 - De quoi traite cette partie de la NIBT?
De la protection contre les surtensions
NIBT 4.4 - Quelles sont les types de surtensions considérées?
NIBT 4.4 - Quelles sont les protections abordées dans cette partie de la NIBT?
NIBT 4.4 - Que peut-on dire des protections contre les surtensions dues aux influences atmosphériques par rapport à celles contre les surtensions dues à des manoeuvres?
Usuellement, les surtensions dues à des manoeuvres sont plus faibles que celles dues à des influences atmosphériques et donc les protections contre ces dernières recouvrent généralement celles contre les premières
NIBT 4.4 - Comment doit-on protéger les canalisations entrantes dans un bâtiment depuis l’extérieur?
Elled oivent toutes être munies de dispositifs de protection contre les surtensions en fonction du risque dû aux surtensions engendrées à la foudre.
Les armatures de câbles et canalisations métalliques doivent être reliées à la liaison équipotentielle de protection, en intégrant l’électrode de terre, par un liaison à basse impédance.
NIBT 4.4 - A quoi faut-il prêter attention lors de la mise en place d’une portection contre les surtensions?
NIBT 4.4. - De quoi dépend la valeur de surtension transitoire?
NIBT 4.4 - Quels sont les cas pour lesquels la protection contre les surtension dues à des influences atmosphériques et à des manoeuvre ne s’applique pas?
NIBT 4.4 - A quoi sert la classification de la tension assignée de tenue aux ondes de choc?
Elle permet la classification adéquates des matériels et la coordination de l’isolement.
NIBT 4.4 - Qu’indique la tension assignée de tenue aux ondes de choc?
Elle donne la résistance fixée de l’isolation du matériel, ou partie du matériel, lors de surtension
NIBT 4.4 - Donner des exemples de matériels de la catégorie de surtension IV
NIBT 4.4 - Donner des exemples de matériels de la catégorie de surtension III
NIBT 4.4 - Donner des exemples de matériels de la catégorie de surtension II
ATTENTION ordi, appareils audio/vidéo, … peuvent être sensibles à des surtension de 2.5kV entre conducteurs à cause de dispositifs de protection ou filtration installés
NIBT 4.4 - Donner des exemples de matériels de la catégorie de surtension I
Ce sont des appareils qui ne peuvent pas être raccordé directement au réseau public d’alimentation. Il faut que l’installation intègre un dispositif de protection contre les surtensions (parafoudre).
NIBT 4.4 - Quelles sont les mesures pour maîtriser les surtensions?
NIBT 4.4 - Quelles caractéristiques du réseau basse tension permettent de se passer d’une protection contre les surtensions d’origine atmosphérique?
NIBT 4.4 - Dans quel cas une protection contre les surtensions d’origine atmosphérique est-elle exigée? Quel niveau de protection doit être mis en oeuvre?
Installation alimentée par un réseau basse tension comprenant des lignes aériennes et que le nombre de jours d’orage dépasse 25 par an (condition environnementale AQ2).
Niveau de protection pas plus élevé que la catégorie de surtension II.
Avec l’accord du GRD, dans certaines régions, possible d’installer un niveau I entre CSG et compteur
NIBT 4.4 - Selon la méthode d’analyse du risque, quels sont les catégories d’effets considérées?
a) effets en relation avec la vie humaine (matériels médicaux, sécurité, …)
b) effets en relation avec les installations publiques (télécom, musée, services publics, …)
c) effets en relation avec activités artisanales ou indutrielles
d) effets sur des rassemblements (grands immeubles, églises, écoles, …)
e) effets sur des personnes individuelles (habitations, petits bureaux, …)
f) emplacement explosible selon EN 62305
Si cas a) à c) => protection contre les surtensions doit être prévue (pas de calcul à faire)
Si cas d) et e) le calcul doit être fait pour comparer la longueur conventionnelle d de la canalisation d’alimentation à la longueur critique dc.
si d > dc => protection exigée, max niveau II
NIBT 4.4 - Quelles sont les catégories de surtension?
NIBT 4.4 - De quelle manière doit être protégée l’introduction de canalisation métallique dans un bâtiment ?
1 Installation de paratonnerre selon 4 SNR 464022 Installations de protection contre la foudre
2 Ventilation, chauffage, etc.
3 Conduite d’eau du réseau local
4 Électrode de terre de fondations selon 4 SNR 464113 üÉlectrode de terre de fondationý ou autres électrodes de terre
5 Constructions métalliques
6 Conduite pour carburant (par exemple: avec protection cathodique)
7 Joint isolant avec éclateur
8 Liaison équipotentielle de protection
9 Liaison du conducteur d’équipotentialité de protection avec le conducteur PEN ou le conducteur de protection (PE) dans une installation selon système TN ou avec le conducteur de protection (PE) dans une installation selon système TT
10 Point de séparation de mesures

NIBT 4.4 - Quelle contrainte doit être respectée entre la tension d’amorçage au choc des éclateurs et la tension de contournement alternative 50Hz du joint isolant?
La tension d’amorçage ne doit pas dépasser 50% de la tension de contournement.
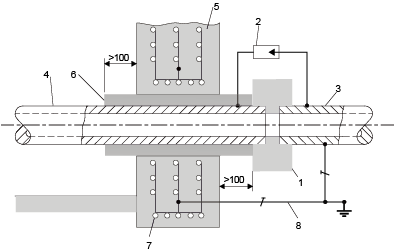
NIBT 4.4 Comment dispose-t-on le joint isolant dans l’introduction d’une conduite métallique de carburant?
1 Joint isolant (Exigences concernant les joints isolants voir: 4 STI 503.0113 üDirective Mesures de protection contre les effets dangereux du courant électrique dans les dépôts de combustibles ou de carburants avec ou sans raccordement ferroviaire (De DC)ý; publiées par l’Inspection fédérale des installations à courant fort (ESTI)
2 Éclateur (antidéflagrant si le joint isolant est situé dans une zone 1 ou 2)
3 Conduite métallique dans le bâtiment
4 Conduite métallique allant à l’extérieur, par exemple à un réservoir
5 Mur du bâtiment
6 Isolation supplémentaire à travers le mur jusqu’au joint isolant
7 Ferraillage des fondations
8 Liaison équipotentielle de protection

NIBT 4.4 - Comment sont déterminées la longueur conventionnelle d et la longueur critique dc? dans quels cas la protection contre les surtensions est-elle exigée?
La protection est exigée pour les cas d) (rassemblement = immeuble, églises, écoles, …) et e) (individu = maison, petit immeuble, petit bureau, …) lorsque
d > dc
d = d1 + d2/kg - d3/kt
d1 ligne aérienne BT (max 1km)
d2 ligne enterrée non blindée BT (max 1km)
d3 ligne aérienne HT (max 1km)
kg = kt = 4
dc = 1/Ng pour d) et 2/Ng pour e) Ng = 0.04\*Td<sup>1.25</sup> Td = nb de jours d'orage/an
NIBT 4.4 - Quels sont les systèmes perturbés et/ou endommagés par les influences électromagnétiques?